守住钱包!最新亮相的这几款新车,款款都是潜力股
近日,工信部发布第400批《道路机动车辆生产企业及产品公告》新产品公示,多款备受关注的新车集中亮相。此次公示涵盖了豪华品牌、合资品牌与自主品牌,涉及燃油、混动、纯电等多种动力类型,从行政级轿车到家用SUV,几乎覆盖了当下主流消费市场。
这些新车的到来,不仅为消费者带来了更多选择,也折射出当前汽车市场“智能化、电动化、年轻化”的核心发展趋势,展现了中外车企在智能化浪潮中的不同应对策略。
接下来,我们将逐一解析几款新车,看它们如何在这瞬息万变的中国汽车市场布局,如果未来一年内有购车计划,不妨耐心等待一下这些新车上市。
一汽奥迪A6L
奥迪A6L作为BBA阵营中行政C级轿车的标杆,长期以来都是政商人士的首选座驾,沉稳、大气、低调,是其最鲜明的标签。然而,时代在变,用户在变,这款历经四代国产、累计销量傲视同级的C级行政轿车,也将迎来颠覆性的蜕变。其将彻底摆脱传统“沉稳庄重”的“官车”形象,转向更具活力的运动风格。

全新一代A6L基于奥迪最新的PPC平台打造,整体设计语言与海外版高度一致,前脸采用标志性的“六边形大嘴式”格栅,内部以极具未来感的Y型元素进行填充,配合修长锐利的LED矩阵大灯,视觉冲击力十足。前包围两侧的纵向通风口设计,进一步强化了运动气息。

车身侧面,半隐藏式门把手的加入,不仅提升了空气动力学表现,也让整车线条更加流畅简洁。车尾则采用了时下流行的分体式尾灯设计,Y型元素再次呼应前脸,层次分明,科技感扑面而来。

尺寸方面,全新A6L的长宽高分别为5142/1874(1887)/1450(1464) mm,轴距达到3066mm。相比现款,三围尺寸均有所增加,轴距更是加长42mm,轴距的提升将直接优化后排乘坐空间,进一步巩固其在加长C级车市场的空间优势。

从申报图细节可见,全新A6L在前包围两侧导流槽内均配备了激光雷达模块,前翼子板处也加入了侧置后视摄像头,结合其平台特性,其大概率会高阶智驾系统,实现类似于奥迪A5L的城市NOA功能。动力系统上,全新A6L将搭载型号为DXG的2.0T发动机,最大功率200kW,动力储备充沛。
从备案信息可以看出,全新A6L堪称“脱胎换骨”,有望吸引大量年轻用户,为奥迪品牌注入新的活力,重塑其在豪华C级轿车市场的格局。
大众安徽与众07
在电动化转型的浪潮中,大众品牌也正加速调整在华战略,而此次公示的大众安徽与众07,正是其“为中国用户量身定制”的关键产品。作为大众安徽旗下第二款车型、品牌首款纯电轿车,与众07不仅承载着扩充产品矩阵的使命,更代表了大众在智能化时代的前瞻性技术理念。

在外观上,延续“破风”设计语言,与众07在造型上彻底摆脱了传统大众轿车的刻板印象。前脸线条犀利,贯穿式LED灯带连接两侧锐利大灯,下包围造型夸张,运动感拉满。车身侧面,隐藏式门把手、流畅的溜背线条,以及4853mm的车长和2826mm的轴距,勾勒出标准的中型轿跑姿态。车尾同样采用贯穿式灯组,与前脸形成呼应,整体视觉重心压低,极具攻击性。相比同品牌的与众06,其尺寸全面升级,空间表现更优。

动力方面,此次申报的版本为单电机后驱,搭载一台由大众汽车自动变速器(天津)有限公司提供的170kW驱动电机,与旗下与众06保持一致。电池则采用国轩高科提供的磷酸铁锂电池。虽然目前仅申报了单电机版本,但参考产品布局,未来极有可能推出双电机四驱高性能版。

真正让与众07与众不同的,是其搭载的那套“为中国量身定制”的电子电气架构。这套架构将会带来更流畅的智能座舱体验、更高级别的驾驶辅助系统,还会大幅提升车辆的软件迭代速度与功能拓展能力,真正实现“常用常新”。
显然,作为金标大众家族的首款轿车,与众07瞄准的是追求个性、潮流的都市年轻用户,在纯电轿车这片“红海”中,与众07将凭借“中国专属技术+德系品质”的双重优势,肩负起为大众品牌在纯电市场“破圈”的重任。
吉利银河星耀7 EM-i
在主流插混家轿市场,吉利银河的攻势可谓“狂风骤雨”。继银河A7、星耀6、星耀8之后,又一款重磅车型——星耀7 EM-i登陆工信部目录。
近年来,吉利银河品牌在新能源市场表现亮眼。2024年9月销量达120868辆,同比大增131%,1~9月累计销量874985辆,同比增幅更是高达206%。面对激烈的市场竞争,吉利银河持续扩充产品阵容,此次公示的星耀7 EM-i,便是其在插混轿车市场的又一“重磅武器”,其定位介于星耀6与星耀8之间的新能源B级车,直接对标比亚迪的同级车型。

外观方面,星耀7 EM-i承袭“涟漪美学”设计语言,前脸采用大尺寸梯形进气格栅,内部为全镀铬直瀑式饰条,视觉冲击力强于星耀8。大灯造型锐利,三层日行灯设计精致感十足。车身侧面线条流畅,贯穿式腰线与上扬的侧裙线营造动感姿态,传统门把手的设计则兼顾了实用性与法规要求。车尾采用熏黑贯穿式尾灯,设计风格更显稳重平直。

尺寸方面,星耀7 EM-i的长宽高为4958/1915/1505 mm,轴距2852mm,作为标准的B级车,其尺寸介于星耀6与星耀8之间,高度比星耀8多出25mm,预计头部空间优势更明显,与同品牌的银河A7相比,轴距长了7mm、车长多40mm,空间表现更优。

动力系统是其核心竞争力。星耀7 EM-i有望搭载与星耀6、银河A7同款的全新一代雷神AI电混2.0系统,采用1.5L自然吸气发动机匹配单挡DHT变速箱,兼顾动力与燃油经济性。电池方面,将由中创新航、耀宁新能源等供应商提供磷酸铁锂电池组。虽然未公布具体容量,但为满足2025年PHEV纯电续航超100km的购置税减免新规,预计纯电续航将有显著提升。
更重要的是,星耀7在智能化方面也不会缺席。Flyme Auto车机系统与“千里浩瀚”辅助驾驶系统将悉数配备,保证智能化体验不掉队。
价格方面,作为参考,星耀6的预售价区间为7.98~11.28万元,星耀8的售价区间为12.58~16.58万元,星耀7 EM-i的价格预计会定格在10~15万元之间,与比亚迪形成直接竞争。
比亚迪元PLUS
作为比亚迪纯电SUV的销量支柱,元PLUS一直以均衡的产品力著称。此次公示的新款元PLUS,虽外观延续家族设计基调,但核心配置与技术架构或将迎来关键升级,堪称“全面焕新”。

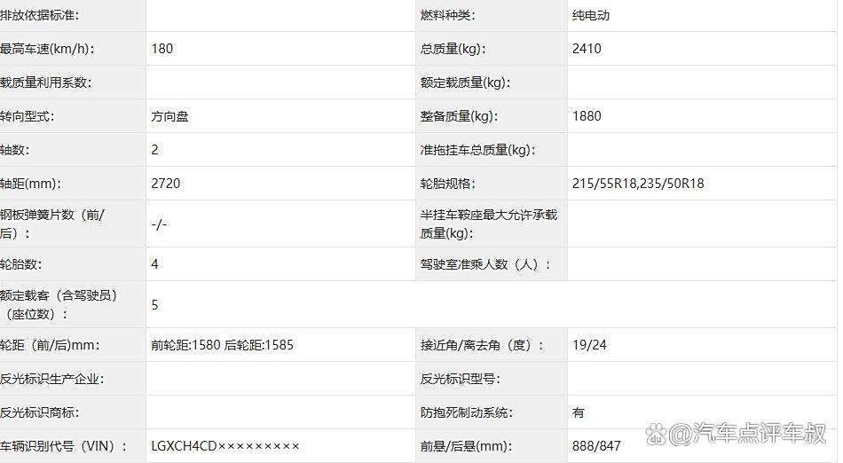
外观上,新款元PLUS延续“龙颜美学”,前脸保险杠造型更硬朗,进气口尺寸更大,配合锋刃式导流槽与贯穿式镀铬饰条,力量感与精致感并存。车尾设计变化也不大,横贯式灯组与银色护板保留,整体风格依旧年轻动感。车身尺寸方面,新款元PLUS的长宽高为4455/1875/1615mm,轴距2720mm,保持了紧凑型纯电SUV的定位,空间表现满足家用需求。

最显著的变化是动力系统的全面升级。根据备案信息,新款元PLUS搭载型号为TZ200XYC的永磁同步单电机,最大功率飙升至230kW,相比现款150kW提升了超过50%,最高车速也从160km/h提升至180km/h。如此巨大的功率提升,结合充电口从右前翼子板移至右后方这一细节的变化,或将意味着新款元PLUS将采用后驱架构,并极有可能基于比亚迪最新的e3.0 evo平台打造。

同时,新款元PLUS整备质量达到1880kg,比现款重了约190kg,这也可能意味着其将搭载更大容量的电池组,续航里程有望突破现有配置,进一步缓解“续航焦虑”。
虽然,目前官方暂未公布完整配置方案,但从现有信息来看,新款元PLUS的这一系列变化,将大幅提升其产品实力,以应对来自竞品的压力。
车叔总结
从此次工信部公示的四款重磅新车来看,无论是豪华品牌、合资品牌还是自主品牌,都在围绕用户需求、技术迭代以及市场政策进行深度调整,奥迪A6L以运动设计与智能化拥抱年轻用户,展现转型的决心。与众07则以“中国专属”为核心卖点,聚焦纯电轿车细分市场,星耀7 EM-i和元PLUS通过精准洞察细分市场需求,打造差异化产品,以应对日益激烈的竞争。
总体而言,在未来的中国汽车市场中,谁能更快地迭代技术、更精准地理解用户、更灵活地调整战略,谁将占据有利位置。而消费者则将迎来更优质、更多元的选择。
#优质好文激励计划#举报/反馈http://e9q.985link.com/dopanjmlvqyc/2712719.html